捷越动态
信息披露
网贷百科
行业解读
视频新闻
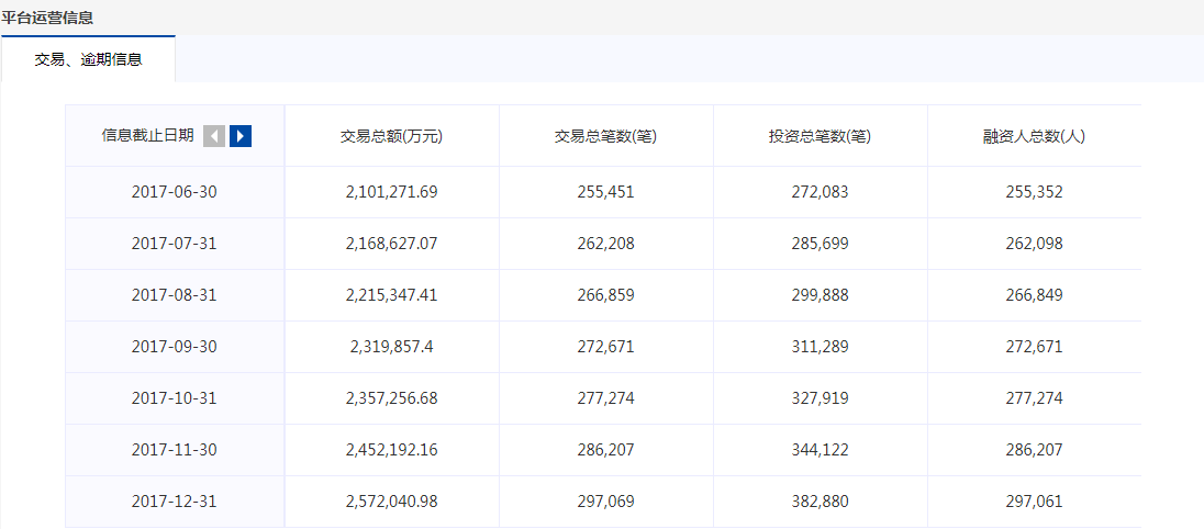
更多平台运营信息请点击以下链接了解
https://dp.nifa.org.cn/HomePage?method=getTargetOrgInfo&sorganation=91110101071737528R